静电除尘技术
静电除尘器的工作原理:含有粉尘颗粒的气体,在接有高压直流电源的阴极线(又称电晕极)和接地的阳极板之间所形成的高压电场通过时,由于阴极发生电晕放电、气体被电离,此时,带负电的气体离子,在电场力的作用下,向阳板运动,在运动中与粉尘颗粒相碰,则使尘粒荷以负电,荷电后的尘粒在电场力的作用下,亦向阳极运动,到达阳极后,放出所带的电子,尘粒则沉积于阳极板上,而得到净化的气体排出防尘器外。
根据目前国内常见的静电除尘器型式可概略地分为以下几类:按气流方向分为立式和卧式,按沉淀极极型式分为板式和管式,按沉淀极板上粉尘的清除方法分为干式湿式等。
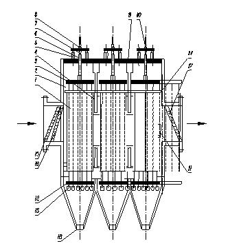
简图如下:

1-阳极;2-阴极;3-阴极上架4-阳极上部支架;
5-绝缘支座;6-石英绝缘管;7-阴极悬吊管;
8-阴极支撑架;9-顶板;10-阴极振打装置;
11-阳极振打装置;12-阴极下架;13-阳极吊锤;
14-外壳15-进口第一块分布板;
16-进口第二块分布板17-出口分布板;18-排灰装置
静电除尘器的优点
⑴ 净化效率高,能够铺集0.01微米以上的细粒粉尘。在设计中可以通过不同的操作参数,来满足所要求的净化效率。
⑵ 阻力损失小,一般在20毫米水柱以下,和旋风除尘器比较,即使考虑供电机组和振打机构耗电,其总耗电量仍比较小。
⑶ 允许操作温度高,如SHWB型电路尘器最好允许操作温度250℃,其他类型还有达到350~400℃或者更高的。
⑷ 处理气体范围量大。
⑸ 可以完全实现操作自动控制。
电除尘器的缺点:
⑴ 设备比较复杂,要求设备调运和安装以及维护管理水平高。
⑵ 对粉尘比电阻有一定要求,所以对粉尘有一定的选择性,不能使所有粉尘都的获得很高的净化效率。
⑶ 受气体温、温度等的操作条件影响较大,同是一种粉尘如在不同温度、湿度下操作,所得的效果不同,有的粉尘在某一个温度、湿度下使用效果很好,而在另一个温度、湿度下由于粉尘电阻的变化几乎不能使用电除尘器了。
⑷ 一次投资较大,卧式的电除尘器占地面积较大。
⑸ 目前在某些企业实用效果达不到设计要求。


